Tesla 배터리 모듈 구조 및 열 관리 시스템
최근 미국 특허청은 "에너지 저장 셀"이라는 Tesla의 새로운 특허 출원을 발표했습니다. 이 특허 출원은 2021년 9월 21일에 출원되어 2023년 10월 26일에 공개되었습니다. 이 특허 출원은 통합을 위해 특별히 설계된 에너지 저장 배터리를 소개합니다. 대형 차량 및 전력망 에너지 저장 제품에 적용됩니다. 에너지 저장 배터리는 원통형이며 통합을 지원하는 특정 특성을 가지고 있습니다. 배터리는 동심원이고 기본적으로 동일 평면에 있는 양극 및 음극으로 구성된 상단 표면으로 구성됩니다. 이 설계는 레이저 용접과 같은 제조 공정을 통해 전기 상호 연결의 용접을 용이하게 하여 경제성과 성능을 향상시킵니다.

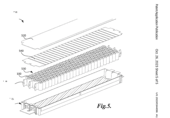
배터리의 측면에는 슬리브가 장착되어 있으며, 이는 배터리 어레이에서 개별 배터리와 보조 구성 요소를 서로 전기적으로 분리하는 데 사용됩니다. 케이스는 배터리 어레이의 일부로 냉각 시스템에도 연결되며 단일 배터리 내에서 발생하는 열을 추출하기 위한 주요 채널 역할을 합니다.

케이싱의 기능:
전기 절연: 슬리브는 전기 절연 재료로 만들어집니다. 이 기능을 통해 배터리 어레이의 개별 배터리와 보조 구성 요소를 전기적으로 격리하고 전기 단락을 방지하며 에너지 저장 시스템의 안전성과 신뢰성을 향상시킬 수 있습니다.
열 관리: 케이스는 배터리 어레이의 일부로 냉각 시스템에도 연결되어 있으며 단일 배터리 내에서 발생하는 열을 추출하기 위한 주요 채널 역할을 합니다. 이는 최적의 작동 온도를 유지하고 과열을 방지하는 데 중요하며, 이로 인해 성능이 저하되고 잠재적으로 안전 문제가 발생할 수 있습니다.
구조적 완전성: 케이스에는 배터리 측면 표면의 적어도 일부가 포함되어 있으며, 이는 배터리의 구조적 완전성에 기여합니다. 이는 배터리가 내구성과 서비스 수명을 보장하기 위해 기계적 부하, 압력 또는 응력을 받을 때 특히 중요합니다. 제조 및 조립: 케이싱은 에너지 저장 배터리의 제조 및 조립 과정에서도 중요한 역할을 합니다. 특허에는 케이싱으로 덮인 측면에 인접한 배터리 상단 표면이 자기 접착을 통해 제조 장비가 이동할 수 있을 만큼 충분한 아이러니함을 가질 수 있다고 언급되어 있습니다. 이를 통해 에너지 저장 배터리 팩을 자동으로 제조하고 효율성을 향상하며 비용을 절감하는 데 도움이 됩니다.

위에서 보면 Tesla의 새로운 에너지 저장 배터리 특허에 포함된 배터리 케이스에는 전기 절연, 열 관리, 구조적 지원, 제조 공정 촉진 등 여러 핵심 기능이 있음을 알 수 있습니다. 이러한 기능은 에너지 저장 시스템의 전반적인 성능, 안전성, 내구성 및 비용 효율성을 향상시키는 데 도움이 됩니다. 원통형 배터리 케이스는 이전 배터리 팩에 채워진 접착제 또는 폴리우레탄 폼을 대체하여 배터리 보호를 강화하고 냉각판과 배터리 사이의 열 접촉을 증가시킬 수 있습니다. 충전된 접착제나 폴리우레탄 폼은 배터리에서 떼어내기 어렵습니다. 따라서 슬리브는 배터리 팩의 조립과 결함이 있는 배터리의 분해를 크게 향상시킵니다.







